L'emballage des boulons hexagonaux à fixation sécurisée est conçu pour les garder organisés et éviter les dommages. Ces boîtes d'emballage sont dotées d'une doublure douce dotée de fentes. Les boulons y sont placés tête-à-tête, de sorte que chaque boulon hexagonal reste en place. Cela les rend rapides à choisir et à placer et évite toute rayure lors du transport. Pour le transport en vrac, les boulons hexagonaux sont souvent emballés à raison de 500 pièces par sac. Ces sacs sont ensuite placés dans des caisses intérieures et des caisses en bois renforcées pour maintenir la charge stable. Pour les industries critiques, les options d’emballage de haute qualité peuvent répondre à des normes militaires strictes. Cela peut inclure des sacs scellés, résistants à la graisse et étanches qui protègent les boulons de la corrosion pendant le stockage et l'expédition.
La note sur un boulon hexagonal montre sa résistance. Ces marquages de qualité se trouvent sur les têtes de boulons pour une identification facile. Les grades ISO courants incluent 4,6, 8,8, 10,9 et 12,9. Le grade 8,8 est un boulon courant à résistance moyenne, tandis que les grades 10,9 et 12,9 sont à haute résistance et utilisés dans des domaines exigeants comme l'automobile et la construction. Les normes ASTM comme A307 et A325 définissent également les performances des boulons. Choisir le boulon hexagonal à fixation sécurisée de la qualité appropriée est essentiel pour la sécurité, car il garantit que le boulon peut supporter la charge sans échouer.
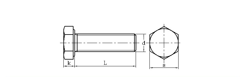
| mm | |||||||
| d | S | k | d | Fil | |||
| maximumimumimum | min | maximumimumimum | min | maximumimumimum | min | ||
| M3 | 5.32 | 5.5 | 1.87 | 2.12 | 2.87 | 2.98 | 0.5 |
| M4 | 6.78 | 7 | 2.67 | 2.92 | 3.83 | 3.98 | 0.7 |
| M5 | 7.78 | 8 | 3.35 | 3.65 | 4.82 | 4.97 | 0.8 |
| M6 | 9.78 | 10 | 3.85 | 4.14 | 5.79 | 5.97 | 1 |
| M8 | 12.73 | 13 | 5.15 | 5.45 | 7.76 | 7.97 | 1.25 |
| M10 | 15.73 | 16 | 6.22 | 6.58 | 9.73 | 9.96 | 1.5 |
| M12 | 17.73 | 18 | 7.32 | 7.68 | 11.7 | 11.96 | 1.75 |
| M14 | 20.67 | 21 | 8.62 | 8.98 | 13.68 | 13.96 | 2 |
| M16 | 23.67 | 24 | 9.82 | 10.18 | 15.68 | 15.96 | 2 |
| M18 | 26.67 | 27 | 11.28 | 11.7 | 17.62 | 17.95 | 2.5 |
| M20 | 29.67 | 30 | 12.28 | 12.71 | 19.62 | 19.95 | 2.5 |
Pouvez-vous expliquer la composition des matériaux et les options de protection contre la corrosion pour vos boulons hexagonaux Secure Fastening ?
Nous produisons nos boulons hexagonaux dans différents matériaux comme l'acier à faible teneur en carbone, l'acier allié plus résistant et l'acier inoxydable (A2-304 et A4-316). Pour la protection contre la rouille, nous proposons des revêtements tels que le zinc électrozingué, la galvanisation à chaud et le Dacromet. Le choix du bon revêtement est important pour la durée de vie du boulon, en particulier dans les endroits difficiles comme les chantiers de construction ou près de la mer.
